Holkar för fladdermöss
Brist på ihåliga träd och konkurrens om bohål med bland annat fåglar har skapat bostadsbrist för fladdermössen. En mycket tacksam och viktig insats är därför att sätta upp holkar.
Fladdermöss äter stora mängder insekter, så den ekosystemtjänst de utför är av största vikt. Fladdermöss äter, förutom mygg, även bland annat små nattfjärilar och skalbaggar. Dessa insekter kan i vissa fall utgöra problem i bland annat skog och i frukt- och bärodlingar. Genom att sätta upp holkar, kan man uppmuntra fladdermössen att jaga där holkarna finns.
Det är inte alla fladdermusarter som vill bo i holkar och bland kan det ta ett tag innan fladdermössen accepterar en ny holk. Det kan ändå vara väl värt att sätta upp fladdermusholkar.
Man bör sätta upp minst två holkar på samma plats för att ge fladdermössen en reträttplats om de blir störda eller om getingar invaderar en av holkarna.
Holkarna bör placeras mellan 2 och 4 meter över marken, helst i söderläge - men inte så att solen gassar på holken hela dagen. Kom ihåg att luftrummet framför inflygningshålet måste vara fritt från vegetation, på samma sätt som för fågelholkar
Använd obehandlat och dessutom gärna ohyvlat virke, så att fladdermössen får bra fäste inne i holken.
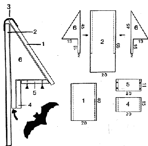
Exempel på fladdermusholk
Det finns många andra varianter som fungerar utmärkt.
- Tak
- Bakstycke
- Takpapp
- Framstycke
- Bottenplatta (kan förses med gångjärn)
- Sidostycke
